Makine Seçenekleri
Makinenin Harici Seçeneklerinin İşlev Rehberi

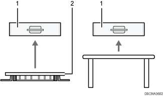
(1) Tarayıcı Ünitesine Takılan Seçenekler
(özellikle Avrupa)

No. | Seçenek | Açıklama |
|---|---|---|
1 | ADF çift besleme algılama kiti | Otomatik Doküman Besleyiciye yerleştirildiğinde, orijinalin çifte beslenmesini algılar. |
(özellikle Kuzey Amerika)

No. | Seçenek | Açıklama |
|---|---|---|
1 | ADF çift besleme algılama kiti | Otomatik Doküman Besleyiciye yerleştirildiğinde, orijinalin çifte beslenmesini algılar. |
(2) Makinenin Kağıt Çıktı Bölümüne Takılan Seçenekler

No. | Seçenek | Açıklama |
|---|---|---|
1 | Dahili Tepsi 2*1 | Dahili Tepsi 1'e eklenen, Fotokopi ya da Faks gibi bir işlevin çıkış tepsisi olarak belirleyin. Kopyalanan/yazdırılan kağıt ya da faks mesajları buraya yazdırılan taraf aşağıya bakar halde iletilir. |
*1 IM C400SRF’ye takılamaz. (
(çoğunlukla Avrupa)/
(çoğunlukla Kuzey Amerika))
(3) Makinenin Yan Paneline Takılan Seçenekler

No. | Seçenek | Açıklama |
|---|---|---|
1 | Kart okuyucu | Makinede oturum açmak için IC kartı kart okuyucusunun üzerinden geçirin. |
(4) Makinenin Altına Takılan Seçenekler

No. | Seçenek | Açıklama |
|---|---|---|
1 | Kağıt Kaseti Ünitesi | Kağıt buraya yüklenir. En fazla 550 yaprak kağıt yükleyebilirsiniz. Makine yere ya da tekerlekli masaya yerleştirildiğinde en fazla üç kağıt kaseti, masaya yerleştirildiğinde ise en fazla iki kağıt kaseti takabilirsiniz. |
2 | Kağıt Kaseti Ünitesi için Tekerlekli Tabla | Kağıt kaseti ünitesini kullanmak için tekerlekli tablayı takın. Makineyi kolayca hareket ettirebilmenizi sağlar. |
Makinenin Dahili Seçeneklerinin İşlev Rehberi
Faks ünitesi (
(çoğunlukla Avrupa ve Asya))Faks işlevini kullanmanıza imkan vermektedir.
PostScript 3 ünitesi
Orijinal Adobe PostScript 3'ü kullanarak çıktı almanızı sağlar.
OCR ünitesi
Taranan orijinalleri optik olarak tanır ve metin verileri gömülü bir PDF oluşturur.
XPS kartı (
(çoğunlukla Asya)/
(çoğunlukla Kuzey Amerika))XPS dosyalarının çıktısını doğrudan almanızı sağlar.
PictBridge kartı
PictBridge uyumlu dijital bir fotoğraf makinesiyle çekilen fotoğrafları doğrudan yazdırabilmenizi sağlar.
Aygıt sunucusu seçeneği
Yazıcıya bir Ethernet bağlantı noktası eklemenizi sağlar. Makinenin bağlı olduğu ağın dışındaki bir ağ üzerinden yazıcı işlevini kullanarak yazdırmanızı sağlar.
IEEE 1284 arayüz kartı
Bir IEEE 1284 kablosuna bağlanmanıza imkan vermektedir.
Kablosuz LAN kartı
Kablosuz LAN üzerinden iletişim sağlamanıza imkan verir.
Dosya biçimi dönüştürücüsü
Belge Sunucusunda saklı belgeleri bilgisayara indirmenizi sağlar.
Gelişmiş Güvenlik HDD (
(özellikle Avrupa)/
(Özellikle Kuzey Amerika))FIPS 140-2 ile uyumlu bir şifreleme işlevi kullanarak sabit diskin güvenliğini geliştirmenizi sağlar.
Faks bağlantı ünitesi
Faks ünitesinin takılı olduğu başka bir makine üzerinden faks göndermenizi ve almanızı sağlar.
VM kartı
"Embedded Software Architecture" platformuyla uyumlu uygulamaları yüklemenizi sağlar.
Bu makinenin işlevlerini genişletmek için, Java dilinde yazılmış çok çeşitli uygulamalar eklenebilir.

Şunlardan yalnızca biri takılabilir: IEEE 1284 arayüz kartı, gelişmiş kablosuz LAN kartı, dosya biçimi dönüştürücüsü ya da aygıt sunucusu seçeneği.
Aynı anda şunlardan yalnızca biri makineye takılabilir: Sabit Disk ve Gelişmiş Güvenlikli Sabit Disk.
Ethernet arayüzü ve kablosuz LAN kartı aynı anda kullanılamaz.