Ekstraudstyr til maskinen
Funktionsoversigt for maskinens eksterne ekstraudstyr

(1) Ekstraudstyr monteret på scannerenheden
(hovedsageligt Europa)

Nr. | Ekstraudstyr | Beskrivelse |
|---|---|---|
1 | Sæt til registrering af dobbelt papirfremføring i ADF | Registrerer dobbelt papirfremføring af originalen når den er placeret i ADF'en. |
(hovedsageligt Nordamerika)

Nr. | Ekstraudstyr | Beskrivelse |
|---|---|---|
1 | Sæt til registrering af dobbelt papirfremføring i ADF | Registrerer dobbelt papirfremføring af originalen når den er placeret i ADF'en. |
(2) Ekstraudstyr monteret på maskinens papirudgangssektion

Nr. | Ekstraudstyr | Beskrivelse |
|---|---|---|
1 | Intern kassette 2*1 | Angiv udskriftsbakken for den funktion, f.eks. Kopier eller Fax, der tilføjes til den interne kassette 1. Kopierede/udskrevne dokumenter og faxmeddelelser leveres her med forsiden nedad. |
*1 Kan ikke monteres på type IM C400SRF. (
(hovedsageligt Europe)/
(hovedsageligt North America))
(3) Ekstraudstyr monteret på maskinens sidepanel

Nr. | Ekstraudstyr | Beskrivelse |
|---|---|---|
1 | Kortlæser | Før et IC-kort hen over kortlæseren for at logge ind på maskinen. |
(4) Ekstraudstyr monteret på bunden af maskinen

Nr. | Ekstraudstyr | Beskrivelse |
|---|---|---|
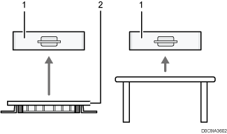
1 | Kassettemodul | Papir ilægges her. Du kan ilægge op til 550 ark papir. Du kan tilslutte op til tre papirbakker, når maskinen er placeret på gulvet eller et rullebord, og op til to papirbakker, når den er placeret på et bord. |
2 | Rullebord til papirkassetteenhed | Rullebordet skal monteres, for at papirkassetteenheden kan benyttes. Gør det nemt at flytte maskinen. |
Oversigt over internt ekstraudstyr til maskinen
Faxenhed
(hovedsageligt Europa og Asien)Gør det muligt at bruge faxfunktionen.
PostScript 3-enhed
Giver mulighed for output med Genuine Adobe PostScript 3.
OCR-enhed
Genkender de scannede originaler optisk og opretter en PDF med de tekstdata, der er indlejret.
XPS-kort (
(hovedsageligt Asien)/
(hovedsageligt Nordamerika))Benyttes til direkte udskrivning af XPS-filer.
PictBridge-kort
Giver mulighed for direkte udskrivning af fotos taget med et PictBridge-kompatibelt digitalkamera.
Ekstraudstyr til enhedsserver
Giver mulighed for at tilføje en Ethernet-port til printeren. Giver dig mulighed for at udskrive ved hjælp af printerfunktionen via et andet netværk end det, der er tilsluttet maskinen.
IEEE 1284-kort
Gør det muligt at tilslutte til et IEEE 1284-kabel.
Trådløst LAN-kort
Gør det muligt at kommunikere via trådløst LAN.
Filformat-konverter
Giver mulighed for at downloade dokumenter, der er gemt i dokumentserveren, til computeren.
Enhanced Security HDD (
(hovedsageligt Europa)/
(hovedsageligt Nordamerika))Gør det muligt at øge harddiskens sikkerhed ved at bruge kryptering, som overholder FIPS 140-2.
Faxtilslutningsenhed
Giver mulighed for at sende og modtage faxer via en anden maskine, hvorpå faxenheden er installeret.
VM-kort
Giver dig mulighed for at installere programmer, der er kompatible med platformen "Embedded Software Architecture".
For at udvide funktionaliteten af denne maskine kan forskellige applikationer skrevet i Java-sprog tilføjes.

Kun en af følgende kan installeres: IEEE 1284-interfacekort, trådløst LAN-kort, filformat-konverter eller ekstraudstyr til enhedsserver.
Kun én af følgende ekstraudstyr kan være monteret på maskinen ad gangen: HDD og Enhanced Security HDD.
Ethernet-interfacet og det trådløse LAN-kort kan ikke bruges samtidigt.