Opcions de la màquina
Guia de les funcions de les opcions externes de la màquina

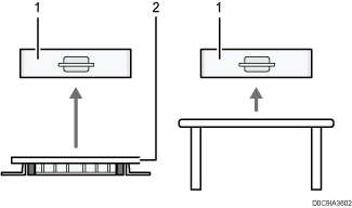
(1) Opcions muntades a la unitat d'escàner
(principalment, Europa)

Núm. | Opció | Descripció |
|---|---|---|
1 | Kit de detecció d'alimentació doble d'ADF | Detecta una doble alimentació de l'original en col·locar-se a l'ADF. |
(principalment, Amèrica del Nord)

Núm. | Opció | Descripció |
|---|---|---|
1 | Kit de detecció d'alimentació doble d'ADF | Detecta una doble alimentació de l'original en col·locar-se a l'ADF. |
(2) Opcions muntades a la secció de sortida de paper de la màquina

Núm. | Opció | Descripció |
|---|---|---|
1 | Safata interna 2*1 | Especifiqueu la safata de sortida per a la funció, per exemple Còpia o Fax, afegida a la safata interna 1. Les còpies, les impressions o els faxos surten per aquesta safata cap avall. |
*1 No es pot muntar en IM C400SRF. (
(principalment Europa)/
(principalment Amèrica del Nord))
(3) Opcions muntades al panell lateral de la màquina

Núm. | Opció | Descripció |
|---|---|---|
1 | Lector de targetes | Passeu una targeta IC per sobre del lector de targetes per iniciar sessió a la màquina. |
(4) Opcions muntades a la part inferior de la màquina

Núm. | Opció | Descripció |
|---|---|---|
1 | Unitat de safata de paper | El paper es carrega per aquí. Podeu carregar fins a un màxim de 550 fulls. Podeu connectar fins a tres safates de paper quan la màquina s'instal·la al terra o damunt d'una taula amb rodetes i fins a dues safates de paper quan la màquina es col·loca sobre una taula. |
2 | Taula de rodetes per a la unitat de safata de paper | Per utilitzar la unitat de safata de paper, instal·leu la taula de rodetes. Us permet moure la màquina fàcilment. |
Guia de les funcions de les opcions internes de la màquina
Unitat de fax
(principalment, Europa i Àsia)Us permet utilitzar la funció de fax.
Unitat PostScript 3
Us permet produir mitjançant Genuine Adobe PostScript 3.
Unitat OCR
Reconeix òpticament els originals escanejats i crea un PDF amb les dades del text inserides.
Targeta XPS
(principalment Àsia)/
(principalment Amèrica del Nord)Us permet produir directament fitxers XPS.
Targeta PictBridge
Us permet imprimir directament fotos que s'hagin fet amb una càmera digital compatible amb PictBridge.
Opció del servidor del dispositiu
Us permet afegir un port Ethernet a la impressora. Us permet imprimir mitjançant la funció d'impressora a través d'una altra xarxa diferent de la xarxa a què està connectada la màquina.
Placa d'interfície IEEE 1284
Permet la connexió a un cable IEEE 1284.
Targeta LAN sense fils
Permet comunicar-se a través de LAN sense fils.
Covertidor de format de fitxers
Us permet descarregar a l'ordinador documents emmagatzemats al servidor de documents.
HDD de seguretat ampliada (
(principalment, Europa)/
(principalment, Amèrica del Nord))Us permet millorar la seguretat del disc dur mitjançant una funció de xifratge conforme a FIPS 140-2.
Unitat de connexió de fax
Us permet enviar i rebre per fax a través d'una màquina diferent de la màquina on s'ha instal·lat la unitat de fax.
Targeta VM
Us permet instal·lar aplicacions compatibles amb la plataforma d'"Arquitectura de programari integrat".
Podeu afegir diverses aplicacions escrites en llenguatge Java per augmentar les funcions d'aquesta màquina.

Només podeu instal·lar una de les opcions següents: targeta d'interfície IEEE 1284, targeta LAN sense fil millorada, convertidor de formats de fitxer o opció del servidor del dispositiu.
Només podeu instal·lar una de les opcions següents a la màquina en qualsevol moment: HDD i Seguretat millorada HDD.
No podeu utilitzar simultàniament la interfície d'Ethernet i la targeta LAN sense fil.