![]() ![]() | ![]() | ||
I det här avsnittet beskrivs hur du fyller på papper i Legal-format i maskinen.
Samma procedur gäller för A4-papper (297 mm) eller större.
![]()
Dra inte i sidopappersledarna med våld. Du kan då skada kassetten.
Flytta inte slutpappersledaren med våld. Du kan då skada kassetten.
Se till att kassetten inte lutar när du sätter i den. Om du sätter i den med en lutning kan maskinen skadas.
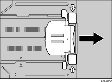
Ta bort den bakre luckan med hjälp av ett mynt.

Dra ut kassett 1 försiktigt och håll sedan i den med båda händerna och dra ut den.

Placera kassetten på en plan yta.
Tryck ned metallplattan tills den fastnar med ett klick.

Ta tag i förlängningen i "PUSH"riktningen och dra sedan ut förlängningen tills det tar stopp med ett klick.

När du har dragit ut förlängningen kontrollerar du att pilarna på förlängningen och kassetten är jäms med varandra.

Ta tag i klämman på sidopappersledaren och dra den så att den matchar standardformatet.


Ta tag i främre änden av pappersledaren och dra den inåt för att matcha Legal-formatet.


Fyll på nytt papper med utskriftssidan uppåt.
Se till att pappersbunten inte är högre än den övre gränsen (övre strecket) inuti kassetten.

Dra ledarna inåt tills de vidrör papperets sidor.
Kontrollera att pappersbunten inte är högre än vad som visas på sidopappersledarna.

Kontrollera att det inte är några mellanrum mellan papperet och pappersledarna, på alla sidor.

Om det finns ett mellanrum mellan papperet och framsidan på pappersledaren, som i nedanstående exempel, kanske inte papperet matas in på rätt sätt.

Tryck försiktigt in kassett 1 rakt in i maskinen.

Du kan undvika pappersstopp genom att se till att kassetten är säkert isatt.
![]()
När du vill sätta i förlängningen igen kanske du måste trycka lite hårdare.
![]()
Information om vilka papperstyper som kan användas i maskinen finns i Papper och andra media.
Information om pappersinställningar finns i Ange papperstyp och pappersformat.