![]() ![]() | ![]() | ||
In questa sezione viene illustrato come caricare i fogli di formato Legal nella periferica.
La stessa procedura si applica ai fogli A4 (297 mm) o di dimensioni superiori.
![]()
Non spostare le guide laterali con forza, in quanto ciò potrebbe danneggiare il vassoio.
Non spostare la guida finale con forza, in quanto ciò potrebbe danneggiare il vassoio.
Quando si inserisce il vassoio, assicurarsi che non sia inclinato. In caso contrario, la periferica potrebbe danneggiarsi.
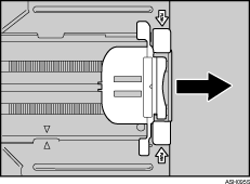
Rimuovere il coperchio posteriore con una moneta.

Tirare delicatamente il vassoio 1, quindi sostenerlo con entrambe le mani ed estrarlo.

Posizionare il vassoio su una superficie piana.
Spingere la piastra di metallo verso il basso fino a bloccarla con uno scatto.

Posizionare l'estensore in direzione "PUSH", quindi tirarlo finché non si blocca (si udirà un scatto).

Dopo averlo estratto, assicurarsi che le frecce sull'estensore e sul vassoio siano allineate.

Serrare il fermo sulla guida laterale e farlo scorrere in modo che corrisponda al formato standard.


Serrare la guida finale anteriore e farla scorrere verso l'interno in modo che corrisponda al formato Legal.


Caricare il nuovo fascicolo con il lato di stampa rivolto verso l'alto.
Assicurarsi di non inserire una quantità di carta che superi il limite superiore (linea superiore) indicato all'interno del vassoio.

Far scorrere le guide verso l'interno finché non aderiscono ai lati della carta.
Assicurarsi di non inserire una quantità di carta che superi la sporgenza a lato delle guide.

Verificare che non siano presenti spazi tra la carta e le guide, sia quella laterale sia quella finale anteriore.

Se è presente uno spazio tra la carta e la guida finale anteriore, come mostrato nell'esempio di seguito, i fogli potrebbero non essere alimentati correttamente.

Spingere delicatamente il vassoio 1 all'interno della periferica.

Per evitare inceppamenti, assicurarsi che il vassoio sia inserito saldamente.
![]()
Per reinserire l'estensore, potrebbe essere necessario spingerlo applicando una forza moderata.
![]()
Per ulteriori informazioni sui tipi di carta supportati dalla periferica, vedere Carta e altri supporti.
Per ulteriori informazioni sulle impostazioni relative alla carta, vedere Come specificare il tipo e il formato della carta.