![]() ![]() | ![]() | ||
Cette section explique comment charger du papier de format Légal dans le périphérique.
La même procédure s'applique au papier de format A4 (297 mm) ou supérieur.
![]()
Ne forcez pas sur les guide-papier latéraux. Vous risqueriez d'endommager le bac.
Ne forcez pas sur le guide-papier. Vous risqueriez d'endommager le bac.
Lors de l'insertion du bac, vérifiez qu'il n'est pas de biais. Son insertion en biais risquerait d'endommager le périphérique.
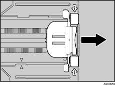
Retirez le capot arrière avec une pièce de monnaie.

Tirez doucement sur le magasin 1, puis prenez-le avec les deux mains et retirez-le.

Placez le bac sur une surface plane.
Poussez la plaque métallique jusqu'à ce qu'elle s'enclenche.

Pincez l'extenseur dans le sens "PUSH", puis retirez-le en tirant dessus jusqu'à ce qu'il s'arrête (vous entendrez un déclic).

Après extension, assurez-vous que les flèches imprimées sur l'extenseur et le bac sont alignées.

Pincez l'attache du guide-papier latéral et faites-le glisser pour le régler sur le format standard.


Pincez le guide-papier avant et faites-le glisser vers l'intérieur pour le régler au format Légal.


Chargez la nouvelle pile de papier en plaçant la face à imprimer vers le haut.
Assurez-vous que la pile de papier ne dépasse pas la limite (ligne supérieure) indiquée dans le bac.

Faites glisser les guides vers l'intérieur, jusqu'à ce qu'ils s'alignent sur les bords du papier.
Assurez-vous que la pile de papier ne dépasse pas la projection sur les guide-papier latéraux.

Vérifiez qu'il n'y a pas d'espace entre le papier et les guides, qu'il s'agisse des guide-papier latéraux ou du guide-papier avant.

En cas d'espace entre le papier et le guide-papier avant, comme dans l'exemple ci-dessous, le papier risque de ne pas être alimenté correctement.

Poussez doucement le magasin 1 dans le périphérique.

Pour éviter les bourrages papier, assurez-vous que le bac est bien inséré.
![]()
Pour réinsérer l'extenseur, vous devrez peut-être le pousser en forçant un peu.
![]()
Pour plus d'informations sur les types de papier pris en charge par le périphérique, reportez-vous à la Papier et autres supports.
Pour plus d'informations sur les paramètres du papier, reportez-vous à la Spécification du type et du format de papier.