![]() ![]() | ![]() | ||
I dette afsnit beskrives det, hvordan du ilægger papir i Legal-format i maskinen.
Den samme fremgangsmåde gælder for papir i formatet A4 (297 mm) eller større.
![]()
Vær forsigtig, når du flytter papirstyret i siden. Ellers kan kassetten blive beskadiget.
Vær forsigtig, når du flytter det bageste papirstyr. Ellers kan kassetten blive beskadiget.
Sørg for, at kassetten ikke hælder, mens du sætter den i. Hvis du sætter den i, mens den hælder, kan maskinen blive beskadiget.
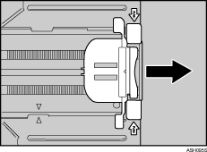
Fjern bagsidedækslet ved hjælp af en mønt.

Træk forsigtigt i kassette 1, og træk den derefter ud, mens du holder fast om den med begge hænder.

Anbring den på en plan overflade.
Skub metalpladen nedad, indtil den låser sig fast.

Klem sammen om forlængeren i retningen "PUSH", og træk derefter forlængeren udad, indtil den stopper (der lyder et klik).

Når du har forlænget kassetten, skal du kontrollere, at pilene på forlængeren og kassetten flugter.

Klem sammen om klemmen på papirstyret i siden, og flyt den, indtil den passer til standardformatet.


Klem sammen om det forreste papirstyr, og flyt det indad, så det passer til papirformatet Legal.


Ilæg den nye papirstak, med udskriftssiden opad.
Sørg for, at papirstakken ikke når op over den øvre grænse (øverste linje), som er afmærket på kassettens inderside.

Flyt styrene indefter, indtil de flugter med papirets sider.
Kontroller, at papirstakken ikke når op over fremspringet på papirstyrene i siden.

Kontroller, at der ikke er mellemrum mellem papiret og papirstyrene, hverken ved papirstyrene i siden eller ved det forreste papirstyr.

Hvis der er mellemrum mellem papiret og det forreste papirstyr, som i eksemplet nedenfor, bliver papiret muligvis ikke indført korrekt.

Skub forsigtigt kassette 1 lige ind i maskinen.

For at undgå papirstop, skal du kontrollere, at kassetten er sat helt i.
![]()
Du skal muligvis skubbe lidt til for at skubbe forlængeren ind igen.
![]()
Se Papir og andre medier for at få flere oplysninger om papirtyper, der understøttes af maskinen.
Se Angivelse af papirtype og -format for at få flere oplysninger om papirindstillingerne.