Hoppa över rubrik
Sida med stöd för skärmläsareStandard
 

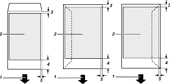
Utskriftsyta

Utskrivbara/ej utskrivbara ytor

layout

  1. Matningsriktning

  2. Utskriftsyta

  3. 3 mm (2,997 mm)

Obs

  • Vid utskrift på kuvert, gäller följande begränsningar av utskriftsytan:

layout

  1. Matningsriktning

  2. Utskriftsyta

  3. 8 mm (10,16 mm)

  4. 38 mm (3,81 cm)

  5. 5 mm (0,2 tum)