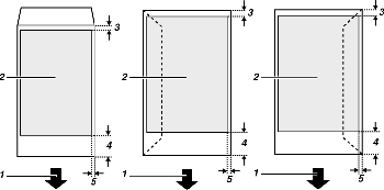
Áreas de impresión y áreas donde no se puede imprimir

Dirección de alimentación
Área de impresión
3 mm (0,118 pulgadas)
![]()
Cuando imprima sobres, se aplican las siguientes limitaciones en el área de impresión.

Dirección de alimentación
Área de impresión
8 mm (0,4 pulgadas)
38 mm (1,5 pulgadas)
5 mm (0,2 pulgadas)