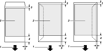
Aree stampabili e non stampabili

Direzione di alimentazione
Area stampabile
3 mm (0,118 pollici)
![]()
Durante la stampa sulle buste, si applicano le seguenti limitazioni dell'area di stampa.

Direzione di alimentazione
Area stampabile
8 mm (0,4 pollici)
38 mm (1,5 pollici)
5 mm (0,2 pollici)