Sautez l'en-tête
Page assistée par lecteur d'écranStandard
 

Zone d'impression

Zone d'impression et zone non imprimable

mise en page

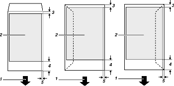
  1. Direction d'alimentation

  2. Zone d'impression

  3. 3 mm (0,118 livres)

Remarque

  • Si vous imprimez sur des enveloppes, voici les limites de la zone d'impression à appliquer.

mise en page

  1. Direction d'alimentation

  2. Zone d'impression

  3. 8 mm (0,4 livres)

  4. 38 mm (1,5 livres)

  5. 5 mm (0,2 livres)