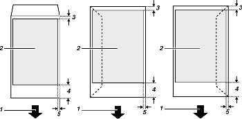
Udskriftsområder og områder, hvor der ikke kan udskrives

Fremføringsretning
Udskriftsområde
3 mm (0,118 tommer)
![]()
Ved udskrivning på kuverter gælder følgende begrænsninger for udskriftsområdet.

Fremføringsretning
Udskriftsområde
8 mm (0,4 tommer)
38 mm (1,5 tommer)
5 mm (0,2 tommer)