Hopp over overskrift
Side som støtter skjermleserStandard
 

Utskriftsbart område

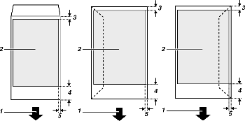
Utskriftsbare områder og ikke-utskriftsbare områder

layout

  1. Materetning

  2. Utskriftsbart område

  3. 3 mm (0,118 tommer)

Merk

  • Ved utskrift på konvolutter gjelder følgende begrensninger for utskriftsområde.

layout

  1. Materetning

  2. Utskriftsbart område

  3. 8 mm (0,4 tommer)

  4. 38 mm (1,5 tommer)

  5. 5 mm (0,2 tommer)