Hoppa över rubrik
Sida med stöd för skärmläsareStandard
 

Utskriftsyta

Utskrivbara/ej utskrivbara ytor

layout

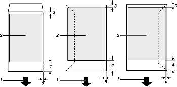
  1. Matningsriktning

  2. Utskriftsyta

  3. 3 mm (0,118 tum)

Obs

  • Vid utskrift på kuvert, gäller följande begränsningar av utskriftsytan:

layout

  1. Matningsriktning

  2. Utskriftsyta

  3. 8 mm (0,4 tum)

  4. 38 mm (1,5 tum)

  5. 5 mm (0,2 tum)